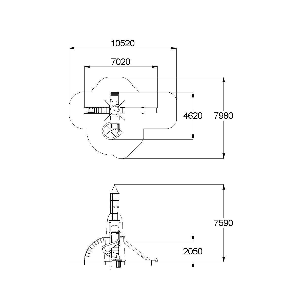
Детский игровой комплекс должен представлять собой модульную сборно-разборную конструкцию из одной башни, стилизованную под «ракету». К башне, с высотой площадки не менее 2050 мм, должны быть пристроены: лестница, лиана, пластиковая спиральная горка, горка-скат. Крыша, в виде головного обтекателя, боковые стенки - арки, стабилизаторы башни должны быть в виде ракеты. Несущие столбы комплекса должны быть выполнены из клееного деревянного бруса сечением не менее 100х100 мм и иметь скругленный профиль с канавкой посередине. Снизу столб должен заканчиваться металлическим оцинкованным подпятником диаметром не менее 42 мм, который бетонируется в землю. Головной обтекатель должен быть выполнен из пластиковых сегментов, щитов и наконечника. Стенки должны быть выполнены из влагостойкой фанеры толщиной не менее 21 мм. Сегменты должны быть соединены между собой оцинкованным крепежом с внешней стороны трубы вдоль конструкции. Боковые стенки – арки, стабилизаторы должны быть выполнены из влагостойкой фанеры толщиной не менее 21 мм. Пол башни должен быть выполнен из деревянной доски толщиной не менее 40 мм. Приставная лестница высотой не менее 2050 мм должна быть оснащена поручнями, выполненными из металлической трубы диаметром не менее 33 мм. Ступени должны быть изготовлены из ламинированной нескользящей влагостойкой фанеры толщиной не менее 15 мм и деревянной доски толщиной 40 мм, склеенных между собой. Расстояние между ступенями должно быть одинаковым. В верхней части должны крепиться ограждающие стенки из влагостойкой фанеры толщиной не менее 21 мм. Горка-скат, с высотой стартового участка не менее 2050 мм должна состоять из каркаса, ската, бортиков высотой не менее 150 мм, защитной секции и защитной перекладины. Каркас горки должен быть выполнен из металлической трубы сечением не менее 50х25 мм. Горка должна иметь стартовый участок, участок скольжения и конечный участок. Скат должен быть изготовлен из единого листа нержавеющей стали толщиной 1,5 мм, утопленный в паз бортиков горки. Защитная перекладина должна быть выполнена из металлической трубы диаметром не менее 33 мм, побуждающая ребенка присесть и установлена на высоте не менее 600 мм от уровня поверхности стартового участка горки. Защитная секция и бортики горок, должны быть выполнены из влагостойкой фанеры толщиной не менее 21 мм. Пластиковая спиральная горка, выстой стартового участка не менее 2050 мм, должна быть выполнена из пластиковых сегментов, соединенных между собой. Горка должна крепиться к башне через переходную площадку с перилами. Лиана должна состоять их 2-х наклонных дуг выполненных из металлической трубы диаметром не менее 42 мм и П-образных ступенек из трубы диаметром не менее 33 мм.
- Габаритные размеры: 4410x7590 мм
