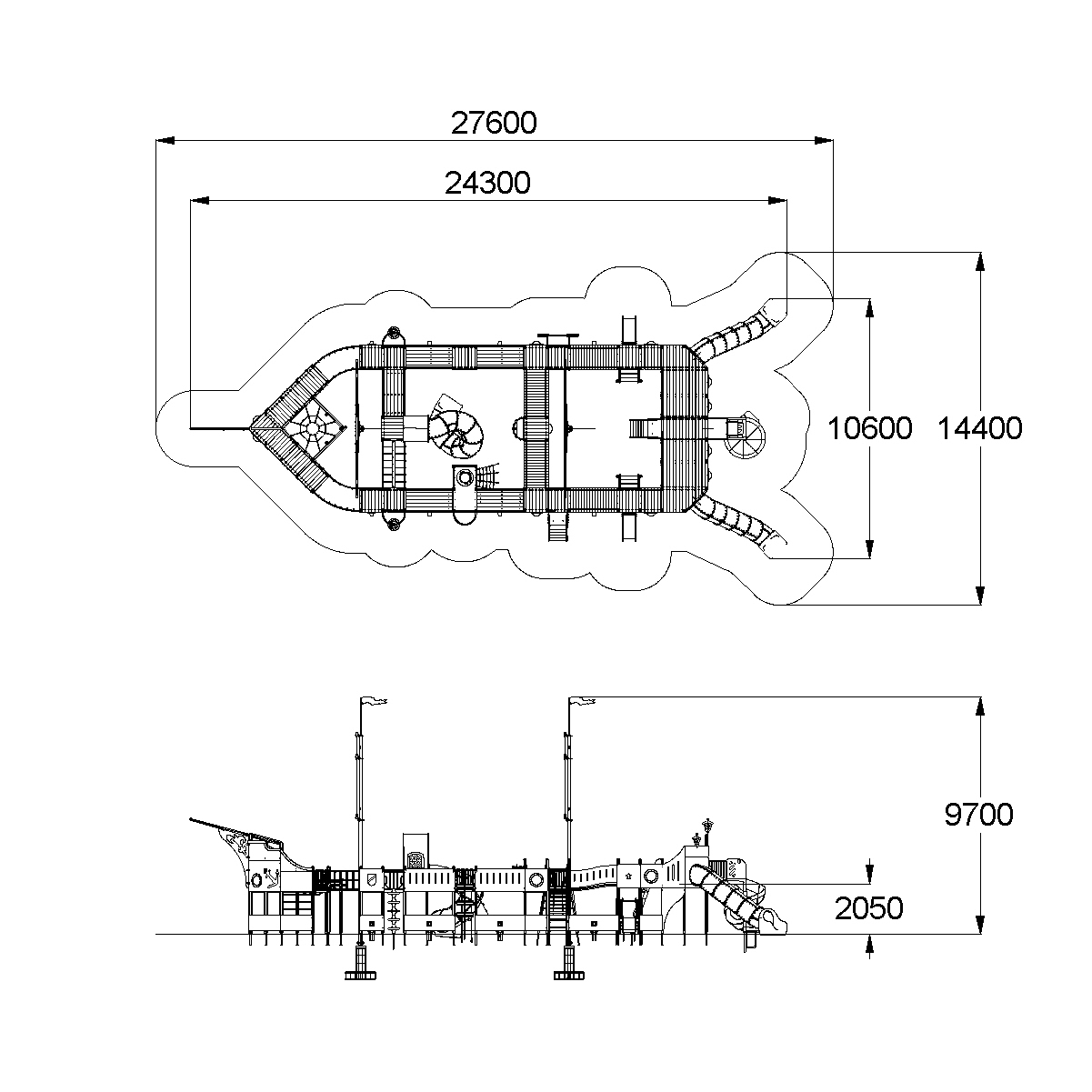
Детский игровой комплекс должен представлять собой модульную сборно-разборную конструкцию, стилизованную под каравеллу с декоративными элементами и пушками. Комплекс с двумя металлическими мачтами и с гимнастическим комплексом должен состоять из 12-ти башен и 8-ми полубашен, соединенных между собой, 2-мя радиальными, 4- мя волнообразными и 5-тью прямыми мостами и одним подвесным мостом с бревном. К башне 1, с высотой площадки не менее 2050 мм, установленной в кормовой части каравеллы, должны быть пристроены: две тоннельных прямых горки, приставная лестница с аркой, спиральная горка, два радиусных балкона, металлические ограждения, фанерные ограждения, декоративные фонари, ограждения с круглыми окошками, нижние передние и боковые стенки. К башне 2 и к башне 3 двухъярусной, с высотой площадки второго яруса не менее 2050 мм должны быть пристроены: фанерное и металлическое ограждения. Под вторым ярусом башни, должен быть установлен первый ярус, с высотой площадки не менее 650 мм. К первому ярусу должны быть пристроены: лестница, фанерные ограждения, прямая горка. Башни 2 и башня 3 имеют продолжение в виде полубашни 1 и полубашни 2. К полубашни 1 и к полубашни 2, высотой площадки не менее 2050 мм должны быть пристроены: фанерные ограждения, одно из которых с круглым окошком. Под площадкой должна быть пристроена боковая стенка. К башне 4, с высотой площадки не менее 1850 мм, должны быть пристроены: металлическое ограждение и лестница. Башня 4 имеет продолжение в виде полубашни 3. К полубашни 3, высотой площадки не менее 1850 мм должны быть пристроены: фанерное ограждение с круглым окошком. Под площадкой должна быть пристроена боковая стенка. К башне 5, с высотой площадки не менее 1850 мм, должны быть пристроены: металлическое ограждение, трапециевидная сетка для лазанья, перекладина, вертикальная лестница. Башня 5 имеет продолжение в виде полубашни 4. К полубашни 4, высотой площадки не менее 1850 мм должны быть пристроены: фанерное ограждение с круглым окошком. Под площадкой должна быть пристроена боковая стенка. К башне 6, с высотой площадки не менее 2050 мм, установленной между полубашнями 3 и 4, должны быть пристроены: радиусный балкон со штурвалом, фанерное ограждение с круглым окошком. К башне 7, с высотой площадки не менее 1850 мм, должны быть пристроены: вертикальный шест со спиралью и креплением в виде дуги. Башня 7 имеет продолжение в виде полубашни 5. К полубашни 5, высотой площадки не менее 1850 мм должны быть пристроены: металлические ограждения, вертикальная лестница. К башне 8, с высотой площадки не менее 1850 мм, должны быть пристроены: металлическое ограждение, альпинистская стенка с отверстиями для рук и ног, перекладина, поручни. К башне 9 и к башне 10, с высотой площадки не менее 1850 мм, должны быть пристроены: вертикальный шест с колесами и креплением в виде дуги. Башни 9 и башня 10 имеют продолжение в виде полубашни 6 и полубашни 7. К полубашни 6 и к полубашни 7, высотой площадки не менее 2050 мм должны быть пристроены: металлическое и фанерное ограждения. Под площадкой должна быть пристроена боковая стенка. К башне 11, с высотой площадки не менее 1850 мм, установленной между башнями 9 и 10, должны быть пристроены: фанерное ограждение. Башня 11 имеет продолжение в виде полубашни 8. К полубашни 8 с крышей, высотой площадки не менее 2050 мм должны быть пристроены: тоннельная спиральная горка, боковые стенки. К угловой башне 12, с высотой площадки не менее 2050 мм, установленной в носовой части каравеллы должны быть пристроены: фанерные ограждения, два из которых с круглым окошком, брус, имитирующий бушприт металлические ограждения и ограждения в виде перекладин. Под площадкой башни должны быть пристроены фанерные стенки. К башне 12 должен быть пристроен гимнастический комплекс. Гимнастический комплекс должен представлять собой конструкцию, состоящую из несущих столбов. В верхней части столбы должны быть соединены горизонтальными столбами. и должна быть расположена полипропиленовая сетка «Паутина», проем гимнастического комплекса должен быть оснащен шведской стенкой. Несущие разновысокие столбы комплекса должны быть выполнены из клееного деревянного бруса сечением не менее 100х100 мм и иметь скругленный профиль с канавкой посередине. Сверху столб должен заканчиваться пластиковой заглушкой, снизу столб должен заканчиваться металлическим оцинкованным подпятником диаметром не менее 42 мм, который бетонируется в землю. Пол башен и полубашен должен быть выполнен из деревянной доски толщиной не менее 40 мм. Пол башни 7 и полубашни 5 должен быть выполнен из влагостойкой фанеры толщиной не менее 21 мм. Приставная лестница высотой не менее 2050 мм должна быть оснащена поручнями, выполненными из металлической трубы диаметром не менее 33 мм. Ступени должны быть изготовлены из ламинированной нескользящей влагостойкой фанеры толщиной не менее 15 мм и деревянной доски толщиной 40 мм, склеенных между собой. Расстояние между ступенями должно быть одинаковым. В верхней части должны крепиться ограждающие стенки из влагостойкой фанеры толщиной не менее 21 мм. Тоннельные прямая и спиральная пластиковые горки с высотой стартового участка не менее 2050 мм, должны быть выполнены из пластиковых тоннельных сегментов соединенных между собой и стенки входа. Сегменты должны быть соединены между собой оцинкованным крепежом с внешней стороны трубы вдоль конструкции. Стенка с круглым отверстием должна быть равной внутреннему диаметру горки. Стенка должны быть выполнена из влагостойкой фанеры толщиной не менее 21 мм. Горка спиральная, выстой стартового участка не менее 2050 мм, должна быть выполнена из пластиковых сегментов соединенных между собой. Горка должна крепиться к башне через переходную площадку с перилами. Горка должна состоять из ската, бортиков, защитной секции и защитной перекладины. Горка должна иметь стартовый участок высотой не менее 650 мм, участок скольжения и конечный участок. Скат должен быть изготовлен из единого листа нержавеющей стали толщиной 1,5 мм, утопленный в паз бортиков горки. Бортики горки, выполненные из влагостойкой фанеры толщиной не менее 21 мм должны быть высотой не менее 100 мм. Защитная перекладина должна быть выполнена из металлической трубы диаметром не менее 33 мм, побуждающая ребенка присесть и установлена на высоте не менее 600 мм от уровня поверхности стартового участка горки. Защитная секция горки должна быть выполнена из влагостойкой фанеры толщиной не менее 21 мм. Ограждения носовой части, кормовой, бортовой части должны быть выполнены из влагостойкой фанеры толщиной не менее 21 мм. Лестница высотой не менее 650 мм должна быть оснащена перилами, выполненными из деревянной доски толщиной не менее 40 мм с декоративными накладными элементами из влагостойкой фанеры толщиной 15 мм. Перила должны быть установлены от первой ступени. Ступени лестниц должны быть выполнены из ламинированной противоскользящей влагостойкой фанеры толщиной не менее 15 мм и деревянной доски толщиной 40 мм, склеенных между собой. Расстояние между ступенями должно быть одинаковым. Радиусный балкон должен состоять из пола, выполненного из влагостойкой ламинированной противоскользящей фанеры толщиной не менее 21 мм и радиусного металлического ограждения из труб диаметрами не менее 21 мм и не менее 33 мм. Лестница высотой не менее 1850 мм должна быть оснащена перилами, выполненными из деревянной доски толщиной не менее 40 мм. Перила должны быть установлены от первой ступени. Ступени лестниц должны быть выполнены из ламинированной противоскользящей влагостойкой фанеры толщиной не менее 15 мм и деревянной доски толщиной 40 мм, склеенных между собой. Расстояние между ступенями должно быть одинаковым. Вертикальный шест с дугой должен быть выполнен из металлической трубы диаметром не менее 42 мм, спираль – из трубы диаметром не менее 33 мм. Расстояние между витками спирали должно быть одинаковым. Нижняя часть шеста бетонируется в землю. Вертикальный шест с дугой должен быть выполнен из металлической трубы диаметром не менее 48 мм, колеса должны быть выполнены из пластика. Нижняя часть шеста бетонируется в землю. Альпинистская стенка с отверстиями для рук и ног должна быть выполнена из влагостойкой фанеры толщиной не менее 21 мм. Трапециевидная сетка и сетка «Паутина» должны быть выполнены из полипропиленового 6-прядного армированного металлом каната тросовой свивки с резиновым сердечником, канат сетки должен быть диаметром не менее 16 мм и соединен между собой пластиковыми креплениями овальной формы. Нижние боковые стенки под площадками башен, полубашен и под мостами, ограждения башен и полубашен, боковые стенки, ограждения с окошками должны быть выполнены из влагостойкой фанеры толщиной не менее 21 мм. Перекладины вертикальной лестницы, поручни, ограждения в виде перекладин, перекладины, должны быть выполнены из металлической трубы диаметром не менее 33 мм. Ограждение металлическое должно состоять из скоб, выполненных из трубы диаметром не менее 21 мм и горизонтальных перекладин, выполненных из трубы диаметром не менее 33 мм. Крыша должна состоять из двух скатов и двух декоративных арок выполеннных из фанеры толщиной не менее 15 мм и не емнее 21 мм. Волнообразный мост должен состоять настила и перил. Настил должен быть выполнен из досок толщиной не менее 40 мм Перила мостика с волнообразной верхней и нижней гранью должны быть выполнены из влагостойкой фанеры толщиной не менее 21 мм. Под площадками боковых мостов должны быть пристроены боковые стенки. Радиальный мост должен состоять из каркаса, настила, перил. Каркас выполнен из металлической трубы диаметром не менее 42 мм, настил – влагостойкая ламинированная фанера толщиной не менее 21 мм, перила – из полиамидных канатов диаметром не менее 16 мм, крепящиеся к металлической трубе сечением не менее 50х25 мм. Прямой мост должен состоять настила и перил. Перила мостика с отверстиями должны быть выполнены из влагостойкой фанеры толщиной не менее 21 мм. Настил дожжен быть выполнен из деревянной доски толщиной не менее 40 мм. Под площадками боковых мостов должны быть пристроены боковые стенки. Подвесной мост с бревном должен представлять собой конструкцию из бревна сечением не менее 130х130 мм и перил из полипропиленового каната. Мачты высотой не менее 9360 мм должны быть с реями и сеткой, натянутой между реями, выполненные из полипропиленового каната. Вершины мачт должны быть украшены флагами. Декоративные элементы в морской тематике должны быть выполнены из влагостойкой фанеры толщиной не менее 9 мм.
Габариты: L 23,5 x B 12,5 x H 9,4.
